Apple's Patent for Foldable iPhone with Display Could Launch by 2020
Elf
Apple's recent patent filing for folding iPhone with a flexible display that clips on to clothing has sparked rumors about a foldable OLED iPhone. A financial analyst who works with Apple suppliers in Asia estimates launch by early 2020.
Hayden's concept on flexible screen 2016
Recent Patent History
2017 Patent: Flexible section in the middle of the Smartphone allows the entire body to bend without seams or a visible hinge
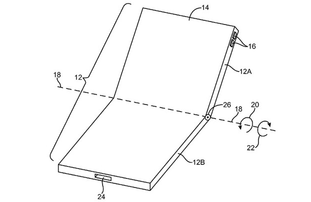
Back on Oct 12, 2017, Apple filed a patent for a new application with the U.S. Patent and Trademark Office called "Electronic Devices with Displays." The patent reveals Apple's interest in making devices that could be folded in half, describing a device with a 'flexible portion' that could be folded and would require having a 'flexible display' to do this without using seams or hinges. The USPTO application credits inventors Terry C. Shyu, Paul. S. Drzaic and Zhen Zhang for the flexible design and was issued to the patent office a year prior on Aug. 30, 2016.
 
Image via USPTO
The patent application describes a foldable display with an organic light emitting display layer (OLED) that is enclosed in a housing made from a variety of materials, ranging from plastic to glass, ceramics, fiber composites, stainless steel and/or aluminum. This latest concept could be applied to numerous devices ranging from MacBooks and iPads to Apple Watches and more.
Image via USPTO
Apple's patent filing also reveals that the technology can be achieved using next generation, micro LED display technology, which would also increase power savings for mobile devices. 
2016 Patent: Flexible OLED display with a Hinged Main Body
A year earlier on Nov 22, 2016, Apple was granted a patent No. 9,504,170 for 'Flexible display devices' that describe an Phone with foldable full-screen display. It's clear that Apple has been researching and experimenting with options for a hinged iPhone format with no visible hinges or seams, but instead having a flexible, OLED display with a metal backing that is capable of being folded into half. 
Image via USPTO
Apple's design would make it easier to fold the iPhone for easy storage similar to the clamshell cellphones that Motorola brought to mass markets in the '90s. In order to have a foldable format, Apple's design requires flexible components such as an OLED display with a metal structure for support. The patent proposes using nitinol, an alloy of nickel and titanium that is known for being elastic and having remarkable shape memory capabilities. The document also offers other options such as flexible polymers.
Image via USPTO
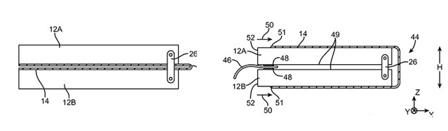
The patent goes into more detail about a device housing that has upper and lower sections, each of which is equipped with processors, sensors and smartphone circuitry. Upper housing could contain light sensors, cameras, display controllers and speaker modules. The bottom housing could hold microphones, CPU and GPU, a vibrator and other essentials. Both parts are attached via a hinge mechanism that allows for rotation and enables both parts to move together. The upper and lower housing are connected via flexible, printed circuit boards. The display is installed over the two structures and Apple documents how the flexible screen can include additional material for two or more folding options.
Image via USPTO
The new screen would be able to fold over itself similar to the clamshell cellphone, making it portable and also protecting the screen from weather and external elements. There is also a configuration for the display facing outward for easy operations. This second configuration allows for clipping on to a person's clothing via sawtooth detents. In order to prevent stress on the OLED part, Apple offers suggestions to ease tension with rollers to dispense and retract the OLED display when the hinge rotates. The patent describes two-hinge designs, cover glass and viewing angle details.
Image via USPTO
Apple's foldable iPhone patent was first filed in July 2014 and credits Fletcher R. Rothkopf, Andrew J. M. Janis and Teodor Dabov as its inventors.
Potential 2020 Release
The patent for this technology was first filed in July 2014, crediting Fletcher R. Rothkopf, Andrew J. M. Janis and Teodor Dabov as its inventors. While Apple has not shared any public details of its foldable smartphone concept, a financial analyst from Bank of America and Merrill Lynch, Wamsi Mohan, who works directly with Apple suppliers in Asia, suggests that the new foldable iPhone could be ready as early as 2020. Mohan also suggested that having a foldable smartphone and the trend towards larger iPhones in recent years could result in a smartphone that 'doubles up as a tablet." This device would offer the benefits of a larger iPad but the portability of a smartphone.
Collaboration with LG
Apple's newest patent filing in Oct of 2017 also overlaps with rumors about a collaboration with LG where LG was making a foldable OLED panel and a "rigid flexible printed circuit board" for a future iPhone model. LG is known for its large, rich color displays and has been working on the problem of having a cohesive display without a visible hinge mechanism for several years now. Other manufacturers like Samsung have teased out concepts, though no working flexible screen model is available yet for purchase by consumers.
Concept via Samsung
Concept via Samsung
Concept via Samsung
The new technology could also find its way into other product lines like the MacBook or iPad.
 
             
             
             
             
             
             
             
            